I would like to propose two “partisan” units for Japan and the United States, armed with silenced machine guns and telescopic sights. I don’t see the point in focusing on uniforms; I’d rather focus on weapons.
The Type 91 is a tank modification of the Type 11. The machine gun received a shortened stock, an enlarged magazine (45 rounds) and the ability to mount an optical sight with 1.5X magnification.

-
Caliber - 6.5 mm
-
Weight of the machine gun with bipod and no ammunition - approximately 10.2 kg
-
Weight of the machine gun with bipod, optical sight, and ammunition - approximately 15 kg
-
Weight of the scope - 3 kg
-
Magnification of the scope - 1.5X
-
Field of view of the scope - 30°
-
Weight of the scope mount - approximately 0.985 kg
-
Overall length - 1023 mm
-
Ammunition - 45 rounds
-
Rate of fire - 500 rounds per minute
-
Muzzle velocity - 736 m/s
Experience with machine guns in tanks revealed the negative impact of the muzzle flash and loudness on gunners, especially at night and twilight. During firing, a significant portion of the propellant gases was drawn into the confined space of armored vehicles by the airflow, negatively affecting the crews.
This problem prompted the development of silencers for the Type 11 and Type 91 machine guns, as evidenced by the large number of patent applications filed in the 1920s and 1930s.
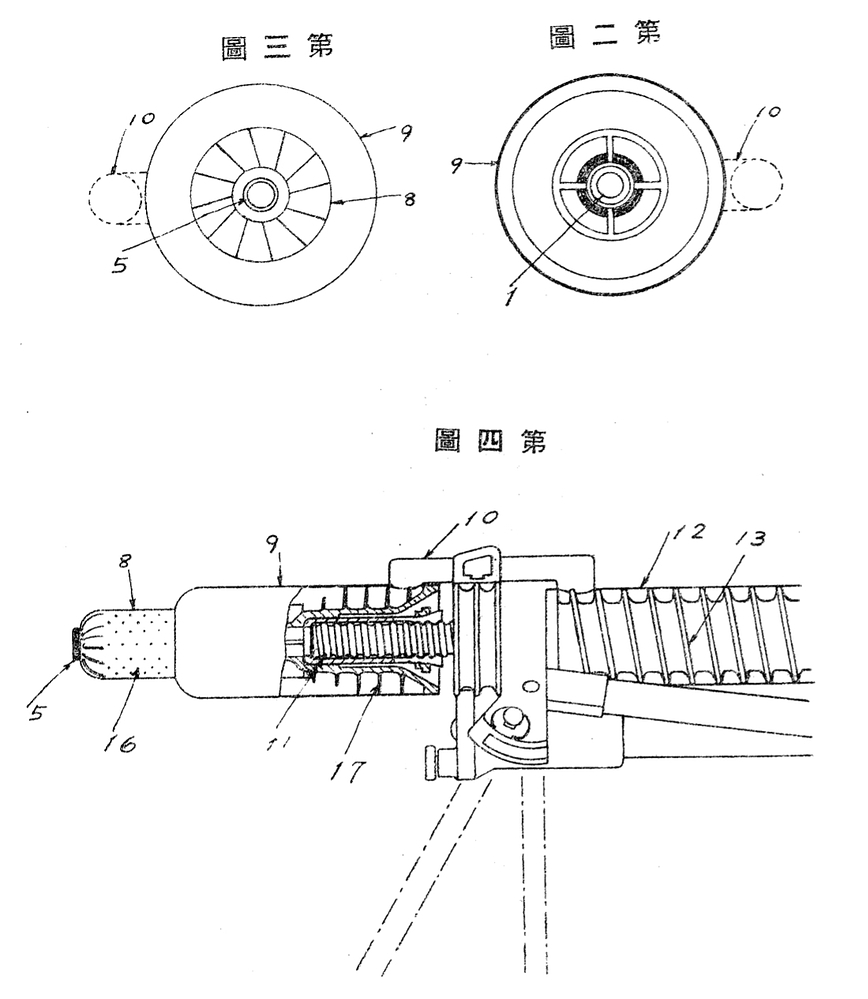
Among the silencers, I’d like to highlight the silencer designed by Toshihei Katori. Although we don’t have a photograph of it, the patent drawings quite accurately depict its design. Furthermore, a patent application has been filed for design improvements, although I don’t see the point in reviewing it here. This confirms the seriousness of the project and suggests that the silencer was most likely “made of metal.”
In the late 19th and early 20th centuries, the US Army sought a replacement for the cumbersome Maxim machine gun. In 1908–1909, trials were conducted, leading to the adoption of the Benét-Mercié machine gun—a modification of the French model chambered for the .30-06 cartridge.


-
Caliber - 7.62 mm
-
Overall length - 1191 mm
-
Weight with bipod, without scope and sling - 12.6 kg
-
Muzzle velocity - 853 m/s
-
Rate of fire - 500 rounds per minute
-
Ammunition - 30 rounds
-
Scope weight - 1 kg
-
Scope magnification - 5.2X
It was distinguished by greater portability and accuracy. Several hundred units, equipped with 5.2X optical sights, were manufactured and modernized by 1914; silencer trials were also conducted. Despite its good performance, the machine gun had serious flaws (frequent failures of the extractor and ejector), so military assessments of its effectiveness varied.












