Hello everyone! I come before you all today, to make a suggestion after seeing the recent official news post “Pre-order: “Fight Fire with Fire” flametrooper squads”. It has inspired me to seek out something unique for Japan.
Whilst I don’t believe there’s any sort of flamethrower firearm combo like the two squads for pre-order (at least any that I know of), I believe I have a suitable suggestion similarly related to the use of fire.
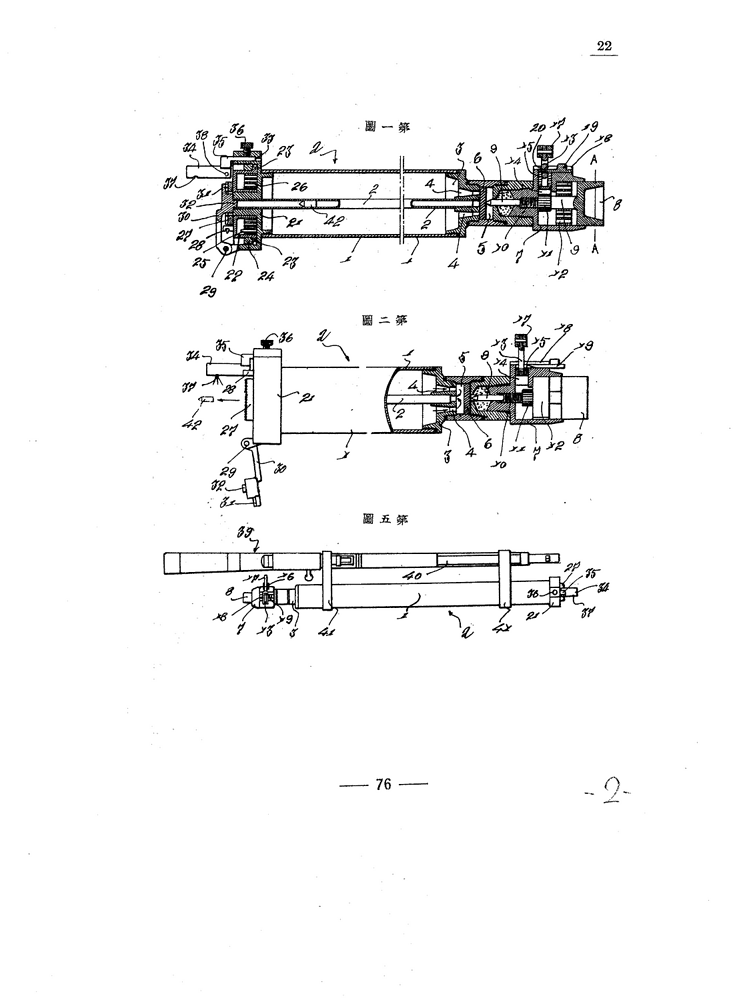
I’d like to suggest a Squad featuring the Imperial Japanese Navy primarily centred around the use of the Small Incendiary Rifle Grenade Mod. 1! In a unique Mortar Squad configuration!![]()


To begin with I’ll list of what’s available information wise concerning the rifle grenade in question; what rifle, it’s configuration and spigot type that will be used to fire said grenade and more.*
*Text has been sectioned to improve legibility.
1: The Grenade & How it is Launched
First and foremost the “Small Incendiary Rifle Grenade Mod. 1” is described as a soft-steel bodied, white phosphorus rifle grenade weighing 1.01 pounds, coloured grey with a purple band and red tip. It is propelled with the use of a specially designed late rifle spigot (sometimes labelled as the ‘Type 3 Rifle Grenade Launcher’) intended to be used with the Type 99 Rifle and Type 38 rifles with guarded front sight; cartridges loaded with wooden bullets would be used as the main propelling force of the rifle grenade, in conjunction with the gas created from the firing of said round.
The design of the spigot also allows the user clearance to attach the type 30 bayonet without interfering with the operation of the spigot and attached grenades. In addition to those you could still use standard ammunition without a grenade attached with said spigot if need be.
Conjecturring from the details about the Late type Spigot, referencing from “Imperial Japanese Grenade Rifles and Launchers by Gregory A. Babich And Thomas A. Keep” Table 3.2, section (D); it describes the ranges for use with the 40mm Hollow-charge (HEAT) rifle grenade up to 50 metres against tanks. Considering this is operation without significantly arching the weapon upwards, it would be reasonable to assume that in a more, ‘mortar style’ usage you could launch the spigot grenades up to around a theoretical maximum of ~125 metres, taking into consideration the “Small Incendiary Rifle Grenade Mod. 1” is around double the weight compared to the 40mm.
2: The Rifle and It's Configuration
Secondly, the rifle that’ll be used as you might have already gathered will be the type 99 rifle, fixed with bayonet and spigot attached and loaded with wood tipped bullets.
Additionally to make the rifle a little more unique not only functioning as the mortar slot weapon, it will also have it’s monopod unfolded so that you can accurately use it to fire in arcs whilst standing using cover to mount it, or using it whilst prone, using the already built in mortar range adjustment feature we’re familiar with in game.

Whilst you’re in the open you’ll basically use it like any other mortar in a knelt down configuration; two hands on the rifles arching it with grenade attached, before you fire pulling the pin on the “Small Incendiary Rifle Grenade Mod. 1”, firing the rifle, then rechambering another round before loading another grenade onto the spigot and repeat.

3: The IJN SNLF and what squad should be chosen
Thirdly, a small tidbit of historical background about the IJN SNLF and their uses of chemical weaponry and a suggestion about what unit to name the squad after.
The Special Naval Landing Forces were part of the Naval Infantry Units within the Imperial Japanese Navy that functioned as essentially an analogue of the American Marines, often being nicknames as, “imperial marines” and or “Jap/Japanese Marines”.
They served as the main offensive ground and amphibious infantry force within the IJN. In particular seeing significant deployment in the second Sino Japanese War and in the Pacific Theatre in WW2. Though as time went on they switched to a more defensive role.
On the note of Chemical warfare, the use of chemical weaponry by the IJN & IJA was mostly used during their campaigns within China and saw very little use against the Allies in fear of similar retaliation; furthermore the Allies in particular the US had their own Chemical Mortar Battalions at the ready in the event the Japanese dared to launch a chemical offensive in any significant capacity.
Now taking into consideration of the locations we have in game, a suitable suggestion in my opinion would be to label the squad as the “5th Yokosuka Special Naval Landing Force” as they saw some use within the Guadalcanal Campaign.
Though I’m open to any unit being chosen as I’m far from an expert on formations within military compositions.
I understand that whilst chemical weapons saw little use in the Pacific in a game like enlisted that’s basically become a “What if they did?” simulator I still think this is a worthwhile gameplay consideration especially so since the Allies have their own analogues to retaliate.
Now we’re going to cover what the squad composition should look like in game, what soldiers are available, the type of squad it will be and then a brief summary of some suitable and fitting cosmetics for this iteration and implementation of the IJN SNLF.
1: Squad Composition & Loadout Flexibility
As many of you would have gathered this will be a Mortar squad in game. It will stick true to that convention and be comprised of 6 soldiers. 4 out of the 6 shall be the unique “chemical” mortarmen. The 5th shall be a unique Engineer with the ability to select machine gun type weapons as an option, as well as the choice of either an Anti-Tank soldier or a radio operator for the 6th man.
The mortarmen will have the unique “Type 99 WP discharger”, featuring the late type spigot grenade discharger, a type 30 bayonet and an unfolded monopod as mentioned in the above section.
Their primary weapon slot is open choice for any of the typical weapon types available for mortarmen, allowing for flexibility across all BRs.

2: Squad Cosmetic Options
Onto cosmetics, we actually have a nice few options for making this unit appear unique and distinctive from many of the other Japanese Infantry Units available to us in game currently.
Consulting primarily from Japanese Special Naval Landing Forces: Uniforms and equipment 1932-45: By G Nila & R A Rolfe" we can get a very clear idea at our available options as shown below ↓
A key point of detail considering the mortarmen, I’d like to draw attention to the specific ammo pouch used for containing spigot fired rife grenades. I believe it would be fitting to adorn the mortarmen with at least 1 or 2 of them along with incorporating the unique attire above.

Here are some additional photographs of the gasmask used by the IJN, the Navy gas mask model 93, No. 2/ No. 3
Another interesting find concerning the gas masks is that there appears to be a very rare hood that was sometimes issued that was supposedly “meant for soldiers with head wounds”, though I have no confirmation of this. Additionally I’m yet to procure a photo with the IJN gasmasks, but for now here’s an image with the IJA gasmasks featuring the additional hood.
We’re now going to quickly run through where this squad shall fit in, how they should function and how they should be implemented.
BR
For their BR I think no higher than BR3 would be appropriate for this squad, considering the WP discharger is intended as area denial with some lingering affects and the ability to affect vehicle crews with white phosphorus. Focusing overall on damage over time as opposed to immediate kills like a typical mortar shell, aside from extremely close hits next to soldiers, with the chance to set soldiers in fire instantly like white phosphorus grenades already in game.
Availability
Considering the somewhat niche nature of the squad I think they’d work well as an event or premium squad especially with their unique look in particular, standing out from the crowd.
Gameplay & Purpose
The gameplay of this mortar squad will focus more on being closer to the frontline in both offensive and defensive situations. The main things contributing and encouraging this play style, will be the lack of range that typical mortars have, the spigot only hitting a max of at max ~125 metres or less due to the weight of the Small Incendiary Rifle Grenade Mod. 1.
The mechanic of the monopod will allow one to go prone and arc shots reliably over quite short distances, or you’ll be able to use nearby cover whilst standing and be able to fire at a more intermediate range, with some close range capabilities. And whilst out in the open you will deploy the rifle akin to a mortar granting the highest possible firing arcs whilst concealing yourself somewhat for more defensive gameplay.
Lastly the bayonet also helps to give you some pushback in those surprise encounters!
Additional photographs
Sources and References
- OP 1667 VOLUME 1 JAPANESE EXPLOSIVE ORDNANCE 14 JUNE 1946
- SPECIAL SERIES, NO. 19 31 DECEMBER 1943 JAPANESE INFANTRY WEAPONS
- WAR DEPARTMENT TECHNICAL MANUAL TM-E 30-480 HANDBOOK ON JAPANESE MILITARY FORCES
- Osprey, Men-at-Arms #432 Japanese Special Naval Landing Forces Uniforms and Equipment 1932-45
- SUPPLEMENT JAPANESE EXPLOSIVE ORDNANCE REVISED EDITION U.S.N. MOBILE EXPLOSIVES INVESTIGATION UNIT No. 1 F.P.O., San Francisco, California
- (book) IJA INFANTRY ARMS IN W.W.II., ILLUSTRATIONS, RITTA NAKANISHI, DAINIPPON KAIGA
- (book) Imperial Japanese Grenade Rifles and Launchers - Gregory A. Babich And Thomas A. Keep
- No thank you.
- Yes!
- No, but the grenade rifle should!
- As a Premium Squad
- As an Event Squad
- As just an Event Weapon
- BR 1
- BR 2
- BR 3
- BR 4
- BR 5
Remember your vote counts!
Well here we finally are after another long-winded suggestion by yours truly, the one and only Purple Oni of Japan.
Honestly I’m quite proud of myself for tracking down the original image of that White Phosphorus grenade all in all.
I truly do and sincerely hope you enjoyed looking through or reading my suggestion even if you might not like to see it in game and I appreciate your time and patience.
Please do of course feel free to correct me or give feedback of all and any sorts if you have any.
Once again, thank you all so very much.
And with much love, till next time! ![]()
![]()











